Device for loading live fish
|
- Detailed Technology Description
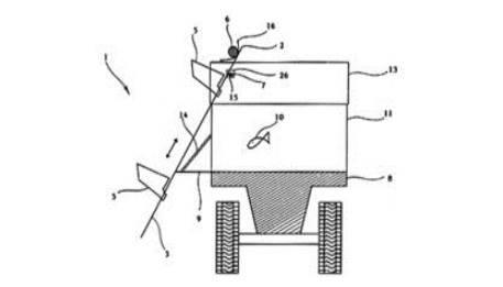
- The present invention relates to a device for loading live fish (10) comprising a fish (10) loader (1) with a guide frame (2) formed by a weldment of longitudinal metal sections (3) and transverse metal sections (4) with a transportation hopper (5) arranged movable on the guide frame (2) and connected with a drive for slide motion of the transportation hopper (5) from a lower filling position to the upper discharge position. The device further comprises a vehicle (8) with at least one transportation fish (10) tank (11) with a front face (12), a rear face (13) and with at least one tilting side plate (9). A carrying rod (15), being situated above the tank (11) is removably fastened to the vehicle (8) front face (12) and rear face (13), and said tilting side plate (9) is provided with means for arresting thereof in horizontal position. The guide frame (2) is provided in its upper section with at least one hook (7) for suspending the loader (1) onto the carrying rod (15), whereby the tilting side plate (9) forms in horizontal position a support for the guide frame (2) lower section.
- Application Date
- 26/10/2016 00:00:00
- ID No.
- 306339
- Country/Region
- Czech Republic
For more information, please click Here

